Mitutoyo Caliper Jaw Inside Micrometer (inch)

Any questions, contact us?

How to contact us

UKAS Calibration Lab

Why use Rhopoint

Frequently Asked Questions

FAQs

What can we calibrate?

Calibration disciplines

SKURange (inch)Price  
145-1930.2 - 1.2£280.00

Add to Basket

145-1941 - 2£295.00

Add to Basket

145-1952 - 3£311.00

Add to Basket

145-1963 - 4£328.00

Add to Basket

Prices in the above table do not include calibration.

Description

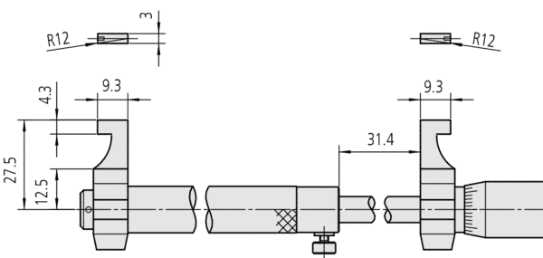
The Caliper Jaw Inside Micrometer offers you the following benefits: Carbide measuring faces A setting standard (optional) is needed to accurately set the micrometer to the reference point.

Specification

Weight 180 g
Unit

Range (inch)

, , ,

Graduation (inch)

0.001"

Family

Calibration Type

Measuring span (inch)

0

Measuring spindle

With spindle lock, spindle pitch 0,635 mm

Measuring face

Carbide tipped

Measuring depth (inch)

0

Micrometer Head stroke (inch)

0

Digital/Analog